Logo
Published on

6.原理篇-前端面试题汇总

Authors
  • avatar
    Name
    xiaobai
    Twitter

一、React Router基础之history

1.1 History介绍

history是一个独立的第三方js库,可以用来兼容在不同浏览器、不同环境下对历史记录的管理,拥有统一的API。具体来说里面的history分为三类

  • 老浏览器的history: 主要通过hash来实现,对应createHashHistory
  • 高版本浏览器: 通过html5里面的history,对应createBrowserHistory
  • node环境下: 主要存储在memeory里面,对应createMemoryHistory

上面针对不同的环境提供了三个API,但是三个API有一些共性的操作,将其抽象了一个公共的文件createHistory

// 内部的抽象实现
function createHistory(options={}) {
  ...
  return {
    listenBefore, // 内部的hook机制,可以在location发生变化前执行某些行为,AOP的实现
    listen, // location发生改变时触发回调
    transitionTo, // 执行location的改变
    push, // 改变location
    replace,
    go,
    goBack,
    goForward,
    createKey, // 创建location的key,用于唯一标示该location,是随机生成的
    createPath,
    createHref,
    createLocation, // 创建location
  }
}

上述这些方式是history内部最基础的方法,createHashHistorycreateBrowserHistorycreateMemoryHistory只是覆盖其中的某些方法而已。其中需要注意的是,此时的location跟浏览器原生的location是不相同的,最大的区别就在于里面多了key字段,history内部通过key来进行location的操作

function createLocation() {
  return {
    pathname, // url的基本路径
    search, // 查询字段
    hash, // url中的hash值
    state, // url对应的state字段
    action, // 分为 push、replace、pop三种
    key // 生成方法为: Math.random().toString(36).substr(2, length)
  }
}

1.2 内部解析

三个API的大致的技术实现如下

  • createBrowserHistory: 利用HTML5里面的history
  • createHashHistory: 通过hash来存储在不同状态下的history信息
  • createMemoryHistory: 在内存中进行历史记录的存储`

1.2.1 执行URL前进

  • createBrowserHistory: pushStatereplaceState
  • createHashHistory: location.hash=*** location.replace()
  • createMemoryHistory: 在内存中进行历史记录的存储
// 伪代码

// createBrowserHistory(HTML5)中的前进实现
function finishTransition(location) {
  ...
  const historyState = { key };
  ...
  if (location.action === 'PUSH') ) {
    window.history.pushState(historyState, null, path);
  } else {
    window.history.replaceState(historyState, null, path)
  }
}
// createHashHistory的内部实现
function finishTransition(location) {
  ...
  if (location.action === 'PUSH') ) {
    window.location.hash = path;
  } else {
    window.location.replace(
    window.location.pathname + window.location.search + '#' + path
  );
  }
}
// createMemoryHistory的内部实现
entries = [];
function finishTransition(location) {
  ...
  switch (location.action) {
    case 'PUSH':
      entries.push(location);
      break;
    case 'REPLACE':
      entries[current] = location;
      break;
}

1.2.2 检测URL回退

  • createBrowserHistory: popstate
  • createHashHistory: hashchange
  • createMemoryHistory:因为是在内存中操作,跟浏览器没有关系,不涉及UI层面的事情,所以可以直接进行历史信息的回退
// 伪代码

// createBrowserHistory(HTML5)中的后退检测
function startPopStateListener({ transitionTo }) {
  function popStateListener(event) {
    ...
    transitionTo( getCurrentLocation(event.state) );
  }
  addEventListener(window, 'popstate', popStateListener);
  ...
}
 
// createHashHistory的后退检测
function startPopStateListener({ transitionTo }) {
  function hashChangeListener(event) {
    ...
    transitionTo( getCurrentLocation(event.state) );
  }
  addEventListener(window, 'hashchange', hashChangeListener);
  ...
}
// createMemoryHistory的内部实现
function go(n) {
  if (n) {
    ...
    current += n;
  const currentLocation = getCurrentLocation();
  // change action to POP
  history.transitionTo({ ...currentLocation, action: POP });
  }
}

1.2.3 state的存储

为了维护state的状态,将其存储在sessionStorage里面:

// createBrowserHistory/createHashHistory中state的存储
function saveState(key, state) {
  ...
  window.sessionStorage.setItem(createKey(key), JSON.stringify(state));
}
function readState(key) {
  ...
  json = window.sessionStorage.getItem(createKey(key));
  return JSON.parse(json);
}
// createMemoryHistory仅仅在内存中,所以操作比较简单
const storage = createStateStorage(entries); // storage = {entry.key: entry.state}
 
function saveState(key, state) {
  storage[key] = state
}
function readState(key) {
  return storage[key]
}

1.3 小结

路由原理

前端路由实现起来其实很简单,本质就是监听 URL 的变化,然后匹配路由规则,显示相应的页面,并且无须刷新。目前单页面使用的路由就只有两种实现方式

  • hash 模式
  • history 模式
  • www.test.com/##/ 就是 Hash URL,当 ## 后面的哈希值发生变化时,不会向服务器请求数据,可以通过 hashchange 事件来监听到 URL 的变化,从而进行跳转页面。
  • History模式是 HTML5新推出的功能,比之 Hash URL 更加美观

二、react-router的基本原理

实现URLUI界面的同步。其中在react-router中,URL对应Location对象,而UI是由react components来决定的,这样就转变成locationcomponents之间的同步问题

2.1 优点

  • React融为一体,专为react量身打造,编码风格与react保持一致,例如路由的配置可以通过component来实现
  • 不需要手工维护路由state,使代码变得简单
  • 强大的路由管理机制,体现在如下方面
    • 路由配置: 可以通过组件、配置对象来进行路由的配置
    • 路由切换: 可以通过<Link> Redirect进行路由的切换
    • 路由加载: 可以同步记载,也可以异步加载,这样就可以实现按需加载
  • 使用方式: 不仅可以在浏览器端的使用,而且可以在服务器端的使用

2.2 react-router具体实现

react-routerhistory库的基础上,实现了URLUI的同步,分为两个层次来描述具体的实现。

组件层面描述实现过程

react-router中最主要的componentRouter RouterContext Linkhistory库起到了中间桥梁的作用

img

browserHistory(一种history类型:一个 history 知道如何去监听浏览器地址栏的变化, 并解析这个 URL 转化为 location 对象)为例 :

  • browserHistory进行路由state管理,主要通过sessionStorage
//保存 路由state(router state)
function saveState(key, state) {
  ...
  window.sessionStorage.setItem(createKey(key), JSON.stringify(state));
}
//读取路由state
function readState(key) {
  ...
  json = window.sessionStorage.getItem(createKey(key));
  return JSON.parse(json);
}

其中saveState函数传进来的state是个json对象,如:

{route: '/about'} ///假设此时的location为'/about'

进行路由匹配,最终渲染对应的组件

const About = React.createClass({/*...*/}) //About 组件
const Inbox = React.createClass({/*...*/}) //Inbox 组件
const Home = React.createClass({/*...*/}) //Home组件
 render() {
    let Child
    switch (this.state.route) {
      case '/about': Child = About; break;
      case '/inbox': Child = Inbox; break;
      default:      Child = Home;
    }

    return (
      <div>
        <h1>App</h1>
        <ul>
          <li><a href="#/about">About</a></li>
          <li><a href="#/inbox">Inbox</a></li>
        </ul>
        <Child/>
      </div>
    )
  }
})

React.render(<App />, document.body)

API层面描述实现过程

为了简单说明,只描述使用browserHistory的实现,hashHistory的实现过程是类似的,就不在说明

img

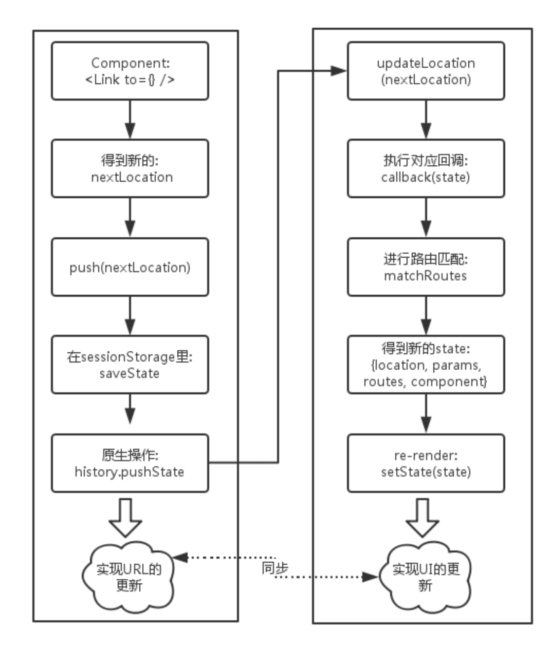
2.3 用户点击了Link组件后路由系统中到底发生了哪些变化

img

Link 组件最终会渲染为 HTML 标签 <a>,它的 toqueryhash属性会被组合在一起并渲染为 href 属性。虽然 Link 被渲染为超链接,但在内部实现上使用脚本拦截了浏览器的默认行为,然后调用了history.pushState 方法

  • 系统会将上述 location对象作为参数传入到 TransitionTo方法中,然后调用 window.location.hash 或者window.history.pushState() 修改了应用的 URL,这取决于你创建history对象的方式。同时会触发history.listen 中注册的事件监听器。
  • 接下来请看路由系统内部是如何修改UI 的。在得到了新的location对象后,系统内部的 matchRoutes 方法会匹配出Route 组件树中与当前location对象匹配的一个子集,并且得到了 nextState,具体的匹配算法不在这里讲解,感兴趣的同学可以点击查看,state 的结构如下
nextState = {
  location, // 当前的 location 对象
  routes, // 与 location 对象匹配的 Route 树的子集,是一个数组
  params, // 传入的 param,即 URL 中的参数
  components, // routes 中每个元素对应的组件,同样是数组
};

Router 组件的 componentWillMount 生命周期方法中调用了 history.listen(listener) 方法。listener 会在上述 matchRoutes 方法执行成功后执行listener(nextState)nextState对象每个属性的具体含义已经在上述代码中注释,接下来执行this.setState(nextState) 就可以实现重新渲染 Router组件。举个简单的例子,当 URL(准确的说应该是 location.pathname) 为 /archives/posts 时,应用的匹配结果如下图所示

img

到这里,系统已经完成了当用户点击一个由 Link 组件渲染出的超链接到页面刷新的全过程